How to obtain authorization for drug preparation application!

Pharmaceutical formulation patents are important for pharmaceutical companies, as the scope of protection for formulation patents is usually very close to or covers the composition and content of the actual marketed drugs. From the perspective of extending the protection period of drug patents, applying for formulation patents is also a common means adopted by pharmaceutical companies. However, in practice, it is relatively difficult to grant formulation patents because usually when applying for formulation patents, the API (active pharmaceutical ingredient) is already publicly available, and the excipients in the drug formulation other than the API are usually conventional excipients; Even after authorization, the formulation patent is not very stable and is relatively easy to be invalidated.

So, how should I apply for a pharmaceutical formulation patent? Based on years of patent writing practice, the author attempts to provide some inspiration to innovative entities through case studies.

There are usually two strategies for layout formulation patents:

01

API的date of patent application( Submit a formulation patent application within 18 months from the priority date if there is priority


Drug patent applications usually utilize the priority system, as it can invisibly extend the protection period of drug patents by one year. So, starting from the priority date of API submission, within 18 months, submit a formulation patent application containing the API. As the patent for the API has not yet been published, the novelty of the formulation patent application depends on the novelty of the API. The stability of such formulation patent applications after being granted is relatively high. Another significant benefit is that the protection period of the drug can be extended by approximately 18 months (in practice, it may be less than 18 months, depending on the strategy and time), although this situation is not sufficient for some drugs that wish to extend the protection period even longer. There is a prerequisite that needs to be reminded to the applicant that in this situation, the patent application for API cannot be disclosed in advance, and it needs to be disclosed at 18 months, let alone go through the pre-approval process (for drug patents, I usually do not recommend using the pre-approval process).

Therefore, the author strongly recommends that pharmaceutical companies submit a formulation patent application within 18 months of submitting a compound patent. This formulation patent application does not require the formulation itself to have unexpected effects, as long as it is a conventional formulation.


02

Submit a formulation patent application 18 months after the patent application date of the API (priority date for those with priority)


For some drugs that hope to obtain a longer protection period, or for drugs that have indeed developed special dosage forms during drug development, or for new formulations developed to solve special technical problems, applying for a patent in such cases is indeed more difficult compared to the first situation, but it is not impossible to apply. In order to obtain stable formulation patent rights, the author uses a formulation patent experienced in practice as an example to illustrate.

The patented drug for this preparation is Edoxaban mesylate tablets (Lixian'an), developed by Japan's Daiichi Sankyo as a direct inhibitor of small molecule coagulation factor Xa. currentlyAtoxaban Toluene Sulfonate TabletsIt has been successfully listed in 31 countries and regions, and officially entered China in December 2018. Due to the expiration of its compound patent in July 2022, according to the results of the "MoEntropy • Medicine" database query, there are currently 23 domestic companies that have applied for generic drugs.Among them, HainanXiansheng Pharmaceutical、Several companies, including Shandong New Era and Shanghai Desano Pharmaceutical Group, have passed the consistency evaluation.

图片

Screenshot source: MoEntropy Pharmaceutical Reviewed Drug Summary Database


图片

Screenshot source: MoEntropy Pharmaceutical Reviewed Drug Summary Database

The patent application for this compound was filed in 2002 and was first published in January 2003. After the publication of the compound patent, the original research company also laid out the formulation patent for this variety, WO 2008129846, which has been authorized in multiple countries around the world. Domestic generic drug companies have repeatedly challenged the validity of the patent, but although it has been partially invalidated, the core claims still remain valid, which has substantially hindered the registration process of some generic drug companies (the review status shows as suspended).

After multiple invalidation procedures, the patent retains the validity of the following two claims:

图片

图片

It can be seen that the protected subject matter of claim 1 of the patent is a coated tablet, which defines the coating agent of the tablet as well as the API (i.e. compound (1), idoxaban) and excipients in the tablet. Both the coating agent and excipients in the tablet are the most commonly used ingredients in the field of formulation:

Coating agent: Hydroxypropyl methylcellulose、ETHYL CELLULOSEAnd polyvinyl alcohol;

Accessories: Mannitol, Xylitol, erythritol, Partially Alpha Starch and/orcrystalline cellulose

According to the instructions, compound (1) is an alkaline compound that exhibits good solubility in strongly acidic aqueous solutions, but its solubility (water solubility) decreases in neutral aqueous solutions (such as neutral buffer solutions). In addition, compound (1) itself exhibits good absorption when administered orally, but the oral administration composition of compound (1) prepared using common drug additives such as lactose or corn starch does not show good dissolution. Therefore, the purpose of this patent is to provide a pharmaceutical composition containing compounds exhibiting good dissolution characteristics as active ingredients.

This patent cleverly designed the following comparative experiments to investigate the effects of different coated tablets and excipients on the dissolution of compound (1):

Example 1 compared the effects of different excipients on the dissolution of compound (1) into tosylate monohydrate (compound (1a)).

图片


The dissolution test results of the tablets formulated in Table 1 in pH 4.0 acetate buffer are shown in Figure 1. The results showed that the dissolution characteristics of compound 1a were better in formulations using mannitol (formula B), partially alphaized starch (formulas C and D), or crystalline cellulose (formula E) than in other endowing agents (lactose and corn starch).

图片

Example 3 compared the effects of different excipients on the dissolution of compound (1a) at three different pH values.

图片

图片

图片

0.1N hydrochloric acid aqueous solution

图片

图片

PH 6.8 phosphate buffer solution

From the above results, it can be seen that mannitol, partially alphaized starch, and crystalline cellulose can enhance the solubility of compound 1a in 0.1N hydrochloric acid aqueous solution, water, and pH 6.8 phosphate buffer solution.

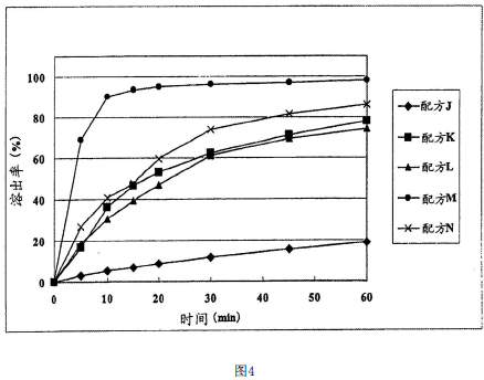
Example 4 studied the effect of different coating agents on the dissolution of compound (1a).

Coat the tablets shown in the table with (1) a coating agent [OPADRY03F42132 (trade name)] mainly composed of hydroxypropyl methyl cellulose, (2) a coating agent [OPADRY AMB (trade name)] mainly composed of polyvinyl alcohol, (3) a coating agent [Aquacoat ECD (trade name)] mainly composed of ethyl cellulose, and (4) a coating agent [EUDRAGIT L30-D55 (trade name)] mainly composed of methacrylic acid copolymer LD, and detect the dissolution rate of compound (1a) in phosphate buffer solution at pH 6.8.

图片

图片

图片

From the results shown in the above figure, it can be seen that when using a coating agent containing hydroxypropyl methylcellulose, ethyl cellulose, and polyvinyl alcohol for coating, the solubility of compound (1a) is significantly higher than that of the coating agent containing methacrylic acid copolymer and the tablet.

Therefore, even for the patent application of conventional excipients, stable patent protection can be obtained by scientifically setting the control ratio and the control ratio of parallel experiments with a single variable.

Due to the good stability of the patent for this formulation, the core claims were preserved even after multiple invalidation attempts. Therefore, when the compound patent expired in July 2022, it partially delayed the arrival of the patent cliff. After the official launch of China's drug patent linkage system, the two companies that first rushed to list their first generic drugs suspended the application process due to the invalidation of the patent, which caused the first generic drug to be delayed by at least one year (under the linkage system, the earliest generic drug to break through the patent restriction is considered to have passed the consistency evaluation in December 2023)*

*Although Hainan Xiansheng was deemed approved in September 2022, its application time happened to be a few days before the registration of the original research patent, and it did not enter the link process.

So, in practice, if pharmaceutical companies want to apply for formulation patents, it is best to design a single variable parallel experiment when screening excipients, starting from a technical problem-solving perspective and telling their own product story.

About Ruiyang Union

Beijing Ruiyang United Intellectual Property Agency Co., Ltd. has partners and senior agents with over ten years of experience in intellectual property services, rich business processing experience, familiar with and proficient in intellectual property laws and practices in major industrialized countries or regions such as China, Europe, America, Japan, and South Korea, and has long-term partners in major hot markets around the world. Most of the professionals have master's degrees or above from well-known institutions, have research experience in well-known enterprises and firms at home and abroad, or have degrees from law schools, and can serve customers in both Chinese and English. The professional technology fields cover computer, biotechnology, medicine, communications, medical devices, chemicals, semiconductor materials, food and processing, machinery manufacturing, automobile and other traditional industries, as well as Internet, nanotechnology, nuclear energy and wind power generation and other active innovation fields。